オムロン
「クラウド型業務支援サービス」

オムロンエンジニアと直接繋がる、月額¥50,000~製造現場のDX オムロンエンジニアと直接繋がる、月額¥50,000~製造現場のDX

製造現場の課題やお悩みごと

ご要望アイコン
  • 紙の作業指示や日報をデジタル化したい
  • 人材不足で作業効率化をしたい
  • 在庫を適正管理したい
  • 生産進捗を見える化したい
  • 設備の稼働効率を高めたい
  • 予知保全やリモート監視を行いたい
  • AI活用に関心がある
  • 困ったときに相談できる技術者が欲しい

オムロンの「クラウド型
業務支援サービス」

お応えします!

現場改善

現場の見える化

現場の見える化

業務の効率化

業務の効率化

プラス

コミュニケーション

繋がり改善支援

繋がり改善支援

お客様での価値・効果

  • QCDの向上
  • 保全ノウハウの蓄積・少人数での保全実現
  • 少額投資コストでの段階的スタート

止まらないラインの実現

オムロンエンジニアが
現場の見える化のお手伝いをします

オムロンが提供するアプリの事例です。

スケジュール管理アプリ

案件がリスト化され、各案件がどの工程まで進んでいるか一覧で確認できます。

スケジュール管理アプリ

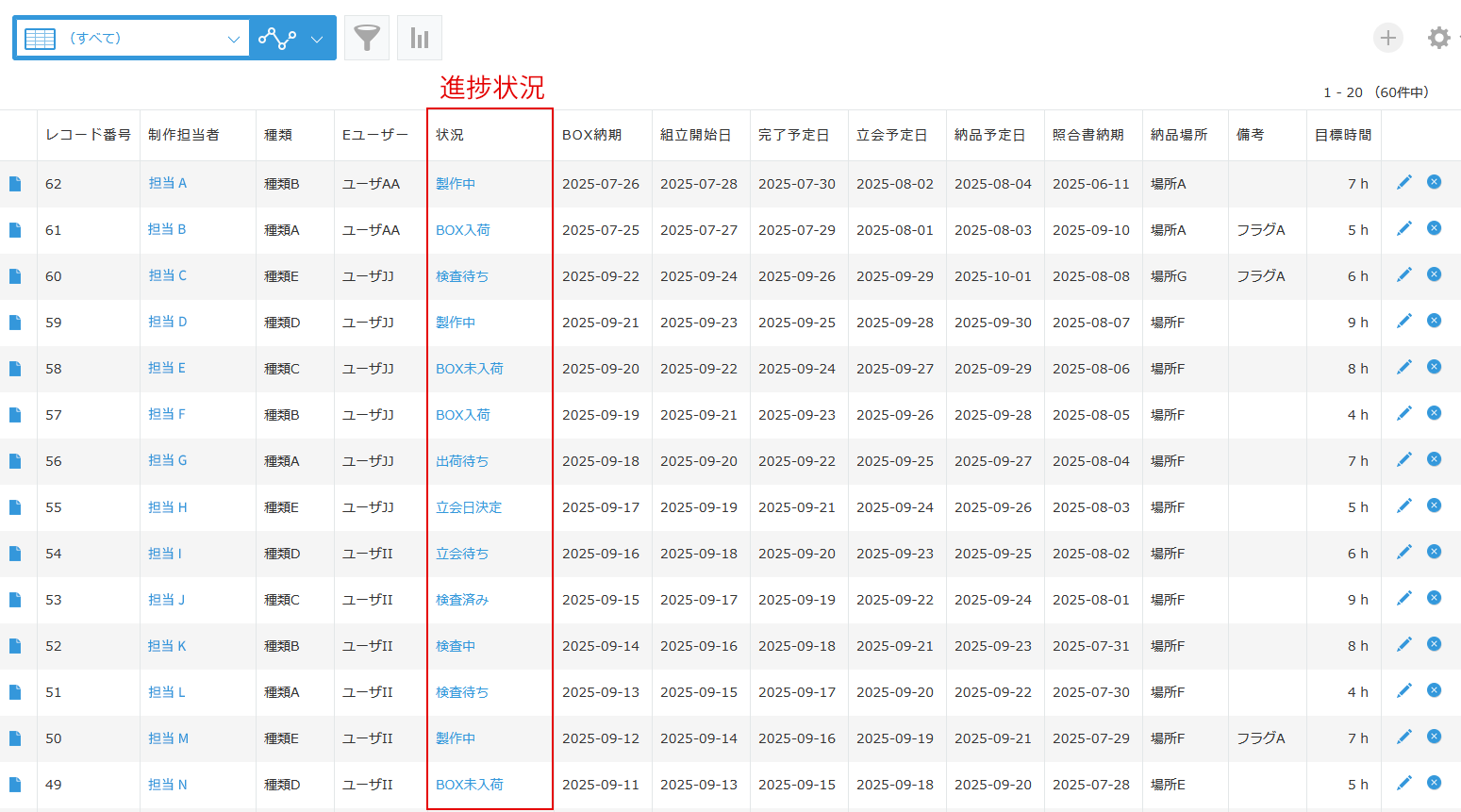
進捗管理アプリ

案件No.ごとに進捗管理用レコードを作成し、各工程にどれだけ工数がかかったかを見える化できます。

※ 時刻はイメージです。

案件ごとに着完入力・記録

案件ごとに着完入力・記録

案件工程ごとの工数を見える化に着完入力・記録

案件工程ごとの工数を見える化に着完入力・記録

生産管理や品質管理、保全業務など様々なケース、ご要望に応じてオムロンエンジニアがアプリを構築します!
※ ベーシックプラン以上の導入時

電力量・生産数量の見える化

電力量・生産数量の見える化

異常発生工程割合表示

異常発生工程割合表示

作業指示・記録

作業指示・記録

定額サービス

サブスクなのでお手軽にクラウド型ソリューションを導入いただけます。

プランのグレード エントリープラン ベーシックプラン アドバンスプラン マスタプラン
参考価格 ¥11,000/月(税抜)

¥50,000/月(税抜)

別途ご案内 別途ご案内
初期
ユーザ数
1ユーザ 8ユーザ
ご相談
対応時間
~5時間/月 ~10時間/月
提供
アプリ
弊社ご用意の
定型ライブラリー提供
ご要望に対応

※ ライセンスのみをご購入要望のお客様は、別途ご相談ください。

お問い合わせ

モノづくりの現場に精通するオムロンのエンジニアが、貴社の担当となり様々な課題解決や現場改善のご支援を行います。
詳細については、エンジニアが直接ご説明にあがりますので、ご連絡をお待ちしております。

クラウド型業務支援サービスへの問い合わせ