Page top

A22NK

キー形セレクタスイッチ

A22NK

φ22mmキー形セレクタスイッチ。短胴化、配線方向変更による制御盤の小型化を実現。簡単配線のプッシュインPlus端子台タイプを追加

※ Web特別価格提供品

(単位:mm)

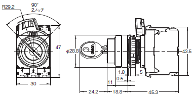
キー形セレクタスイッチ(照光・非照光タイプ)

2ノッチ(樹脂ベゼル)

形A22NK-2B□-01□A-G

A22NK 外形寸法 2

形A22NK-2B□-01□A-P

A22NK 外形寸法 3

3ノッチ(樹脂ベゼル)

形A22NK-3B□-01□A-G

A22NK 外形寸法 4

形A22NK-3B□-01□A-P

A22NK 外形寸法 5

2ノッチ(金属ベゼル)

形A22NK-2M□-01□A-G

A22NK 外形寸法 6

形A22NK-2M□-01□A-P

A22NK 外形寸法 7

3ノッチ(金属ベゼル)

形A22NK-3M□-01□A-G

A22NK 外形寸法 8

形A22NK-3M□-01□A-P

A22NK 外形寸法 9

連結時の奥行き寸法

(ねじ端子台タイプ)

A22NK 外形寸法 10

2接点ユニット取付時の奥行き寸法

(プッシュインPlus端子台タイプ)

A22NK 外形寸法 11

単品(共用)

取付台

形A22NZ-H-01

A22NK 外形寸法 13

ねじ端子台仕様

スイッチユニット

形A22NZ-S-G1□

A22NK 外形寸法 15

プッシュインPlus端子台仕様

スイッチユニット(1接点)

形A22NZ-S-P1□

A22NK 外形寸法 17

スイッチユニット(2接点)

形A22NZ-S-P2□

A22NK 外形寸法 18

アクセサリ・工具

保護カバー

形A22NZ-A-303

A22NK 外形寸法 20

パネルプラグ(樹脂)

形A22NZ-A-401

A22NK 外形寸法 21

パネルプラグ(金属)

形A22NZ-A-402

A22NK 外形寸法 22

回り止めリング

形A22NZ-A-403

A22NK 外形寸法 23

回り止め金具

形A22NZ-A-50501

A22NK 外形寸法 24

補強板

形A22NZ-A-C01

A22NK 外形寸法 25

コントロールボックス

形A22NZ-A-B101
形A22NZ-A-B101Y

A22NK 外形寸法 26

コントロールボックス(2穴)

形A22NZ-A-B102

A22NK 外形寸法 27

コントロールボックス(3穴)

形A22NZ-A-B103

A22NK 外形寸法 28

コントロールボックス

形A22NZ-A-B201
形A22NZ-A-B01Y

A22NK 外形寸法 29

コントロールボックス(2穴)

形A22NZ-A-B202

A22NK 外形寸法 30

コントロールボックス(3穴)

形A22NZ-A-B203

A22NK 外形寸法 31

防水キャップ

平形用 形A22Z-3600F

A22NK 外形寸法 32

突出形用 形A22Z-3600T

A22NK 外形寸法 33

フルガード用 形A22Z-3600G

A22NK 外形寸法 34

φ30用樹脂アタッチメント

形A22Z-A30

A22NK 外形寸法 35

銘板ユニット

一般 形A22NZ-A-50103

A22NK 外形寸法 36

大形 形A22NZ-A-51103

A22NK 外形寸法 37

彫刻板

一般形用 形A22Z-3443□-□

A22NK 外形寸法 38

大形用 形A22Z-3453□

A22NK 外形寸法 39

締めつけ工具

形A22NZ-A-301

A22NK 外形寸法 40

LEDランプ交換工具

形A22NZ-A-302

A22NK 外形寸法 41

キャップ締めつけ工具

形A22Z-3908

A22NK 外形寸法 42